GM запатентовала колеса без воздуха с возможностью установки мотора
Дата публикации: 2026-01-20.
Время чтения: 6 мин.
Компания General Motors получила патент на необычную конструкцию автомобильного колеса, которое не требует накачки воздухом и позволяет размещать электродвигатель прямо внутри колесного узла. Речь идет не о серийном продукте или готовом решении для рынка, пока это только патент, который включает описание инженерной идеи и возможного способа ее реализации.
Тем не менее сам подход интересен, особенно в контексте развития электромобилей, где вес, компоновка и модульность конструкции играют ключевую роль.
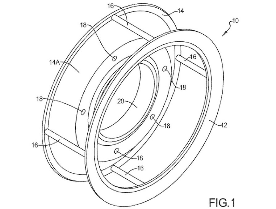
Патент под номером US 12,508,841 B2 был подан GM в марте 2023 года и опубликован в декабре 2025-го. В документе описывается конструкция непневматического колеса, то есть такого, в котором отсутствует привычная шина, накачиваемая воздухом.
В традиционных колесах основную нагрузку держит давление воздуха внутри шины, а сама конструкция опирается на замкнутую «бочкообразную» форму диска. В предложенной GM схеме от этой логики отказываются.
Колесо состоит из двух основных элементов:
- внешнего кольцевого бурта,
- внутреннего кольцевого бурта.
Между ними расположены опоры, которые могут выглядеть как стержни, балки или рычаги. Именно они принимают на себя нагрузку и обеспечивают жесткость конструкции.
Ключевая особенность такой конструкции в том, что между двумя буртами нет сплошной кольцевой оболочки, характерной для обычных колес. За счет этого уменьшается количество материала и, как следствие, масса колеса.
Согласно патенту, опор может быть от трех до восьми. Они крепятся к обоим буртам сваркой, болтовыми соединениями или другими способами. Такая схема позволяет сохранить прочность, но при этом сделать колесо заметно легче традиционного.
Одна из самых интересных частей патента связана с компоновкой силовых элементов. Внутренний бурт колеса имеет специальную выступающую поверхность с центральным отверстием, в которое может устанавливаться часть электродвигателя. При этом внутреннее центральное отверстие предназначено для размещения мотора, а внешнее отверстие может иметь больший диаметр и выполнять вспомогательную роль.
Фактически GM описывает возможность прямого крепления электродвигателя к колесу, без использования классической трансмиссии. В той же зоне предполагается размещение тормозного механизма.
Такой подход хорошо вписывается в концепцию мотор-колеса, которую давно рассматривают для электромобилей, но редко доводят до серийного производства из-за сложности, массы и проблем с надежностью.
Несмотря на отсутствие воздуха, патент допускает установку непневматической шины, которая крепится к внутреннему и внешнему буртам. Это означает, что колесо все же может иметь внешний резиновый слой для сцепления с дорогой, но без давления воздуха внутри.
С инженерной точки зрения у конструкции есть несколько потенциальных преимуществ:
- снижение массы колесного узла,
- отказ от шин, чувствительных к проколам,
- упрощение компоновки электромобиля,
- возможность создания модульной платформы, где мотор, тормоза и колесо объединены в один узел.
При этом важно понимать: патент не означает, что такая система обязательно появится на серийных автомобилях. Компании часто патентуют идеи «про запас», чтобы закрепить за собой возможные технические решения на будущее.
Патент GM описывает нетипичную, но логичную для электромобилей конструкцию колеса без воздуха, с опорной внутренней структурой и возможностью интеграции электродвигателя и тормозов. Это не анонс продукта и не обещание скорого внедрения, а зафиксированная инженерная концепция, которая может быть использована в будущем или остаться на уровне патентной документации.


